Brons öryggisventillinn með lyftistöng samþykkir meginregluna um fjöðraflsjafnvægi. Þegar þrýstingurinn nær tilgreindu gildi, notaðu virkni lóðar eða seguls til að þrýsta stimplinum niður í ákveðna stöðu til að opna lokann (þ.e. losa miðilinn). Á sama tíma er spóla rafsegulsins virkjað og lokuð í gegnum stjórnbúnaðinn, sem slítur aðalrásina til að byrja. Til að vernda kerfið og persónuleg öryggistæki.

Kostur
1.Lever Mechanism: Stöngin þjónar sem handvirkur stýribúnaður fyrir lokann. Með því að lyfta eða lækka stöngina er hægt að opna eða loka ventilnum handvirkt, sem veitir aukna stjórn á þrýstingslosunarferlinu.
2.Efni: Lokahlutinn, lyftistöngin og aðrir lykilhlutar eru venjulega úr bronsi eða kopar, sem bjóða upp á framúrskarandi tæringarþol og vélrænan styrk.
3.Tækið hefur meiri losunargetu, sem gerir það kleift að takast á við stærra rúmmál af vökva eða gasi meðan á þjöppunaratburði stendur. Þessi stillanleiki tryggir sveigjanleika og samhæfni við margs konar notkunarskilyrði.
4.Hönnun þessa búnaðar dregur úr viðhaldskostnaði vegna varanlegrar uppbyggingar og einfaldaðrar viðhaldskröfur. Með því að lágmarka þörfina fyrir tíðar viðgerðir eða skipta um íhluti hjálpar það til við að draga úr heildarrekstrarkostnaði og niður í miðbæ og hámarka kostnaðarhagkvæmni allan líftímann.
Staðlar
Hönnun og framleiðsla: GB/T 12241-2005, GB/T 12243-2005
Augliti til auglitis (enda til enda): JB/T 2203-1999
Próf og skoðun: GB/T 12243-2005
Umsóknir
Þessi búnaður þjónar sem öryggisbúnaður sem er hannaður til að vernda þrýstihylki fyrir of miklum þrýstingi.
Það er samþykkt til notkunar með lofttegundum, gufum, loftræstingu (hitun, loftræstingu og loftræstingu) og vökva.
Rekstrarhitasvið eru sem hér segir:
FKM þétting: -20 gráður í 180 gráður
PTFE-þétting: -60 gráður í 200 gráður
EPDM-þétting: -40 gráður í 110 gráður
Algengar spurningar
1.Hvernig er ventilábyrgðartímabilið þitt?
Venjulega er ábyrgðartímabilið fyrir lokar 12 mánuðir, hins vegar munum við leysa eða skipta um nýja loka þegar fundum gallahlutum til gömlu lager viðskiptavina okkar, sama hversu lengi.
Helstu eignalýsing
|
Mormal Pressure |
PN |
150 |
300 |
600 |
900 |
150 |
|
Líkamsstyrkur |
Ps(Mpa) |
3.0 |
7.5 |
15 |
22.5 |
38 |
|
Stilltu þrýsting |
Pk(Mpa) |
0.1-2 |
1.6-5 |
3.2-10 |
8-25 |
10-25 |
|
Þéttiþrýstingur |
Pm(Mpa) |
90% Pk |
||||
|
Endursetningarþrýstingur |
Ph(Mpa) |
Stærri en eða jafnt og 90%Pk |
||||
|
Léttir á þrýstingi |
Pp(Mpa) |
Minna en eða jafnt og 1,1Pk |
||||
|
Lyftuhæð |
H(mm) |
Stærri en eða jafnt og 1/4 d0 |
||||
|
Viðeigandi hitastig. |
C (WCB) P, R (SS304, SS316) |
Minna en eða jafnt og 300 gráður Minna en eða jafnt og 200 gráður |
||||
|
Viðeigandi miðill |
Loft, olía, gufa, vatn, ætandi miðill |
|||||
Kóði fyrir þvermál háls
|
Kóði |
Þvermál |
Kóði |
Þvermál |
|
D |
10 |
L |
20 |
|
E |
13 |
M |
55 |
|
F |
16 |
N |
60 |
|
G |
20.5 |
P |
72 |
|
H |
26 |
Q |
96 |
|
J |
33 |
R |
115 |
|
K |
40 |
T |
148 |
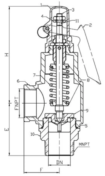
Aðalmál
|
NEI |
Nafn hluta |
Efni A42H-C |
Efni A42Y-P |
Efni A42Y-R |
|
1 |
Líkami |
WCB |
CF8 |
CF8M |
|
2 |
Stútur |
2Cr13/ 304 |
CF8 |
CF8M |
|
3 |
Stillingarhringur |
2Cr13/ 304 |
304 |
316 |
|
4 |
Diskur |
2Cr13/ 304 |
304 |
316 |
|
5 |
Stýrihylki |
2Cr13/ 304 |
304 |
316 |
|
6 |
Bonnet |
WCB |
CF8 |
CF8M |
|
7 |
Vor |
ASTM 6150 |
ASTM 6150 húðað teflon |
ASTM 6150 húðað teflon |
|
8 |
Stöngull |
2Cr13 |
304 |
316 |
|
9 |
Stillingarbolti |
45 |
2Cr13 |
2Cr13 |
|
10 |
Cap |
A126 |
CF8 |
CF8M |
|
11 |
Belgur |
304 |
316 |
316 |
maq per Qat: brons öryggisventill með lyftistöng, Kína brons öryggisventill með lyftistöng framleiðendur, birgja, verksmiðju











